A
Anonymous
Guest
YEs, but did you check out my pic???
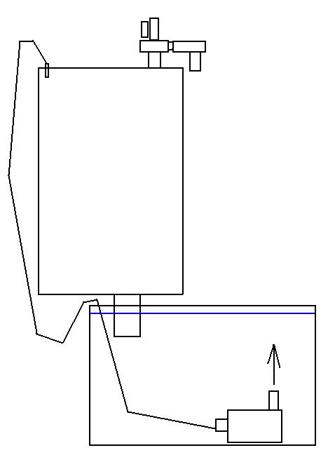
The float must be lightweight as well as the stopper must be lightweight, but the air actually pushes up on the stopper while its rushing in
I think it will work, who wants to build it?
The float must be lightweight as well as the stopper must be lightweight, but the air actually pushes up on the stopper while its rushing in
I think it will work, who wants to build it?



